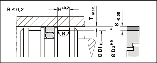
Compound Fabric Wear Rings FÜS2

Compound Fabric Wear Rings with stair cut are mainly used in hydraulics and machine building. They perform the function of guiding pistons in cylinders, prevent them from making metallic contact and absorb radial forces. In the material POM also available in special dimensions at short notice from routine production.

Application Range
Temperature: -50 °C / +120 °C
Sliding Speed: ≤ 0,5/0,8 m/s (depends on the amterial selected)

Materials:
- Synthetic woven fabric with a modified phenolic resin impregnated (2000K)
- Phenolic resin impregnated cotton fabric (1000K)
- Phenolic resin impregnated fine cotton fabric (0051K)
- Resin impregnated plastics fabric with PTFE additives (1030 - 0052K)
- Resin impregnated plastics fabric with graphite additives (0942 - 0052K)

Other materials are available for very high or very low operating temperatures. For detailled information, please look at the specific PDF catalogue or contact our application engineers.

Load product catalog

Are you missing materials or dimensions?

Feel free to contact us!

Our sealing experts will be happy to advise you!

+49(201)86606-0 or vk@techno-parts.de